|
Petite présentation de ce bras type unipivot de 1959, plutôt rare, sur lequel on ne trouve que très peu d'information.
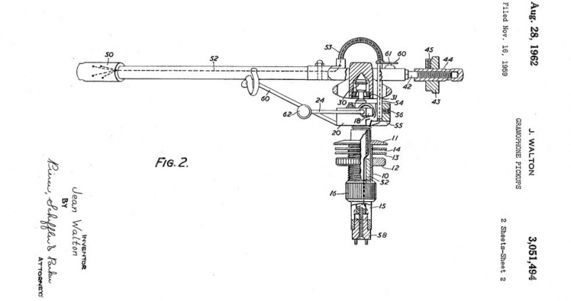
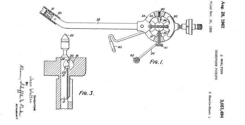
Acos Hi-light Pick-up Frequency response: ±3db 20-20,000 c/s. Playing weight: 2 grammes (Stereo), 1 gramme (Mono). Stylus: sapphire. L.P. and 78 Sapphire heads available. *post copié sur wordpad, mais je n'ai plus l'adresse du forum: En 1959, postérieurement au bras "Transcriptor" et toujours en Grande-Bretagne, il y eut le très curieux "Hi-Lite" conçu par J Walton (il était encore ingénieur principal de "Cosmocord" ) qui combine (fig. 7) un "unipivot" inversé, au centre de gravité très abaissé pour les rotations d'axe vertical; mais conservant l'axe horizontal (entre pointes et cuvettes), pour les mouvements verticaux. Ce bras couronnait les importants travaux de J.Walton, consacrés à la restitution des gravures stéréophoniques (ce furent les premiers à utiliser un microscope électronique, pour apprécier l'effet des contraintes imposées au sillon par la pointe de lecture), dont il concluait fort justement que la masse efficace du bras, vue de la pointe de lecture, était alors trop importante, compte tenu de l'apport massif (dynamiquement irréductible) des phonolecteurs magnétiques ou dynamiques les plus estimés, évoluant toujours entre 15 et 20g. Pour J.Walton, spécialiste en piézo-électricité, il existait une solution: mettre d'abord au point un phonolecteur stéréophonique céramique (dont la masse pourrait aisément se limiter à 5g) pouvant égaler ou surpasser les meilleurs magnétiques ou électrodynamiques. Ce n'est pas tellement difficile, si l'on se contente d'une faible tension de sortie et si l'on demeure strictement dans le domaine d'un tranducteur d'amplitude, qu'une très faible charge ohmique convertit en lecteur de vélocité (l'idée fut reprise avec succès par "Grado" - qui remplaça fréquemment, et gratuitement certaines de ses cellules électrodynamiques ultra-fragiles, par des céramiques, dotées du même boîtier, sans susciter de plaintes chez ses clients - par "Connoisseur", et bien d'autres, encore aujourd'hui). Il restait à compléter cet exceptionnel phonolecteur, alors ultra-léger. d'un bras de faible inertie verticale, qui fut digne de lui, et ce fut le "Hi-Lite" (le passsage des fils de connexion n'y était pas exemplaire), dont la carrière fut courte. D'une part, il était assez onéreux, s'écartant par trop des produits habituels à "Cosmocord"* qui en assura peu de temps la fabrication. D'autre part, J.Walton ayant été séduit par les Laboratoires Decca, dirigés par Arthur Haddy (un grand pionnier des techniques phonographiques) y apportait ses conceptions, en matière de phonolecteurs céramiques et stéréophoniques de grande classe (une version simplifiée fut commercialisée sous la référence "Deram"; très populaire en Angleterre, elle eut peu de succès en France, où la piézo-électricité phonographique demeure peu appréciées). Ajoutons encore que les fabricants de phonolecteurs magnétiques (à aimant ou fer mobile) suivirent rapidement les directives de Walton, en diminuant considérablement l'inertie de leurs transducteurs, avec en supplément une cote d'amour supérieure. * Brevet: Numéro de publication US3051494 A Type de publication Octroi Date de publication 28 août 1962 Date de dépôt 16 nov. 1959 Date de priorité 20 nov. 1958 Inventeurs Walton Jean Cessionnaire d'origine Cosmocord Ltd DESCRIPTION (Le texte OCR peut contenir des erreurs.) Aug. 28, 1962 J. WALTON 3,051,494 GRAMOPHONE PICKUPS Filed Nov. 16, 1959 2 Sheets-Sheet 1 AAA; ATTORNE i I E m O $6 o y Aug. 28, 1962 J. WALTON 3,051,494 GRAMOPHONE PICKUPS Filed Nov. 16, 1959 2 Sheets-Sheet 2 INVENTOR Jean \A alfon BY JWJE, ma United States Patent 3,051,494 GRAMOPHUNE PECKUR Jean Walton, London, England, assignor to Cosmocord Limited, Waltham Gross, England Filed Nov. 16, 1959, Ser. No. 353,269 Claims priority, application Great Britain Nov. 20, 1958 16 Claims. (Cl. 274-43) This invention relates to gramophone pick-ups and, in particular, to support arms for carrying such pick-ups. At the present time, there is a tendency to use pickups which present a very small downward force at the point of contact of the stylus with the record. At present, contact pressures of the order of three grams are encountered frequently, and much lower pressures, of one gram or less, are contemplated or in occasional use. Pick-ups having such a low stylus contact pressure impose a particular difiiculty in the design of suitable arms for supporting them. The present invention is concerned with a construction of a support arm which has certain features of advantage when used to support a pick-up with only a very light vertical pressure, and the invention consists broadly of a gramophone pick-up arm assembly comprising a support, a member having appreciable weight pivotally mounted on the support by means of a single pivot point, and an arm mounted on the weight member for pivotal movement about a horizontal axis. The invention also includes a gramophone pick-up arm assembly comprising a support, a member having a preciable weight mounted on the support on a single pivot bearing permitting movement of the member about at least a vertical axis, and an arm mounted on the weight member for pivotal movement about a horizontal axis, the pivoting parts of the support and the weight member being held in engagement by gravity, and the centre of gravity of the moving parts being below the said engaging pivoting parts. Other features and advantages of the invention will appear from the following description of one embodiment thereof, given by way of example, in conjunction with the accompanying drawings, in which: FIGURE 1 is a plan view of a gramophone pick-up arm, FIGURE 2 is a side elevational view, partly in section, of the device of FIGURE 1, and FIGURE 3 is a fragmentary sectional view showing part of the arm raising and lowering mechanism. In this form of the invention, the support arm is mounted for pivotal movement by pivots which have different effective axes of rotation, so that in use the necessary vertical movement of the support arm is divorced from its horizontal movement. Thereby it can be arranged that the moment of inertia for movements about a horizontal axis, corresponding to vertical movements of the stylus, is less than that about the vertical axis. Further, one of the pivots is of the point type, so that the connection between the arm and the support has a degree of freedom of movement about three axes, at right angles; these axes are coincident. When using an extremely light-weight pick-up, a further difliculty that arises is that of placing the stylus in contact with the record, and likewise of removing it from the record when the latter has been played. The construction of the invention to be described includes means by which the pick-up can be lowered very gently on to the record, thus avoiding damage both to the pickup and the record. It may be desirable with a pick-up intended for high quality reproduction, to provide means for adjusting the playing weight of the pick-up. With very low playing weights, this requires a very sensitive detector of the ice force imposed on the record by the stylus. In accordance with a feature of the construction to be described, means are provided on a pick-up for adjusting a counterweight so that the pick-up is in balance, that is to say, where the stylus would not impose any pressure on the record, and then by adding to the system a predetermined weight so as to produce the desired pressure at the stylus tip. The embodiment of the invention shown in the drawings is a support arm assembly intended for a pick-up of which the playing weight, considered at the stylus tip, is of the order of one-half to one gram. The support arm assembly consists essentially of three relatively movable parts: a support post, intended to be secured to a motorboard or the like, a second member which is supported with respect to the post member and has a degree of freedom with respect to it about a first axis, and a further member which is supported from the second, and has with respect to it a degree of freedom about a further axis, at a substantial angle to the first. In this embodiment, the first axis is vertical and the second horizontal. The post member itself has two relatively moving parts, with the object of providing the lowering mechanism, for lowering the pick-up on to the record. Turning to the construction in more detail, the post member comprises a bush in, having an external thread by which it may be passed through a motorboard and secured between a flanged part 11 on the bush and a suitable nut 12 run on to the threaded portion; washers l3, i i are provided. Within the bush is a sleeve 15; this sleeve can be adjusted longitudinally within the bush, but this adjustment is made only on installation, and thereafter the bush and sleeve remain secured together. This adjustment enables the height of the support arm above the motorboard to be varied, without affecting any of the other adjustments. To secure the sleeve in its adjusted position, the lower end of the threaded part of the bush is split coned and a coned nut 16 is used to clamp the bush to the sleeve. Within the sleeve is the post proper 17. The post can slide longitudinally within the sleeve, but is held against rotation; to enable the post to be raised and lowcred, an actuator is provided, which includes two short coaxial cylindrical members of which one is shown at 18 in FIGURE 3, joined by two rods 24 21 disposed on a diameter of the cylinders. As shown in FIGURE 3, post 17 has two transverse slots 22, 23, of different depth. The actuator can be turned by means of a small hand lever 24 provided with a ball member 62 at the outer free end thereof. When the cylinder 18 is turned in a clockwise direction as seen in FIGURE 3 rod 21 will engage slot 23 and lift the post; movement is limited by rod 2% when this engages a flat 19 on the post. When the cylinder is turned in the opposite direction, the post will lower until rod 20 fully enters slot 22, in the position shown in FIGURE 3. At its upper end the post has a conical point 26 with a spherical tip constituting a single pivot point bearing, upon which is balanced the second member of the assembly, referred to above. This second member is a balanceweight 28 which rests on the top of the projecting part of the post and has a conical recess terminating in a spherical bearing to receive the pivot point 26 which is of smaller radius. The weight of the member 28 and its shape are such that the centre of gravity of the system which pivots on the post is below the pivot point, so that the system is balanced in stable equilibrium. The weight is held captive on the post by a spring washer 30 on the post and a screwed retaining ring 31 in the recess on the underside of the weight. The conical pivot is slightly more acute than the conical recess and renders the pivot action of the arm as a whole unaffected by small deviations of the post from the vertical. The third part of the system includes the arm, which is pivoted on the second member. The arm includes a tubular part 32, which is fixed to a mounting ring 33 which surrounds the second member and is pivoted to it, for movement about a horizontal axis by means of two pivot pins 34, 35 which engage corresponding pivot recesses on the second member. Conveniently, the pivot pins are housed in inwardly extending projectings 36, 37 on the ring member. Pin 34 is spring biased by a spring 4d; pin 35 can be adjusted by means of a milled ktiob 41. In this way the vertical pivotal movement can be easily adjusted to be free, but without play, and this also gives side balance adjustment. The horizontal pivot axis for arm 32 through the pivot pins 34, 35 intersects the vertical axis through the pivot point 26 and the pivot point 26 lies on that horizontal axis. On that part of the ring opposite the point to which the arm 32 is secured is a counterweight support 42, consisting of a rod $2 on which is disposed a suitable weight 43, which can he adjustable for the purpose of counterbalancing the system in the horizontal plane. The counterweight 43 can be roughly set in position on a sleeve 44, and locked by a grub screw 45; the sleeve 44 is screw threaded on support rod 42 for fine adjustment. The pick-up head mounting consists of a moulding 59 which can be secured to the end of the arm 32, the end of the arm being cranked so that the head is at an ofisetangle to give the minimum tracking error in known manner. The pick-up cartridge proper plugs into the end of the moulding i), and connection is made to it by a series of socket members 51 which engage pins on the end of the cartridge, not shown. In a pick-up of the type described, where lightness of the parts is important, it is difficult to secure a satisfactory contact to the small pins used. In accordance with one feature of the present invention, the desired frictional engagement between the pins and the sockets 51 is ensured by arranging that the pitch of the sockets diifers slightly from the pitch of the pins; it is convenient to arrange that the sockets are received in a body of insulating material, in which case the holes of this body can be formed at the appropriate pitch centres. Thereby adequate contact will be ensured when the pins and sockets are mated. If the body of insulating material is slightly flexible, a very satisfactory action is ensured. It is necessary to ensure that the connections made from the pick-up cartridge to the stationary part of the arm shall not interfere with the balance. With a conventional arm, at normal tracking weights, this provision is possible without difiiculty, but with the very small playing pressures involved with the present construction the problem is much more diflicult of solution. In the embodiment described, an arrangement is adopted which gives a small, but consistent force between the moving parts, which, being consistent, can be balanced out with the counterweight, The leads from sockets 51 follow a path 52 indicated in FIGURE 2 and then pass through a conduit 53 formed by a spirally wound spring wire. The forward end of conduit 53 is fastened to ring 33; its rearward end is fastened to a tube 54 held in an enlargement 55 at the upper end of the sleeve 15. Tube 54 is held to the sleeve by grub screw 56. The connecting leads pass from the end of tube 54 into a recess 57 in sleeve 15, thence to the interior of the sleeve and to a contact plug 58 secured in the bottom of the sleeve. Tube 54 also carries a small arcuate plate 60 which, in conjunction with a projection 61 formed on the rear part of ring 33, causes the pick-up head to be lifted clear of the record when the arm 24 is raised. It will be seen that when the projection strikes the underside of the plate, the pick-up head will be raised. The plate has a suitimined weight. 4; cient angular extent about pivot 25 to enable this to be done at any normal position of the pick-up. The plate 61 can be coated with frictional material, so that before the pick-up is lowered the arm can be moved to any desired position above a desired part of the record, and when the arm is lowered it will engage that part. The movement in doing so is gentle, and the pick-up will engage the record with the desired pressure. Moreover, if the co-operating parts, especially post 17 and sleeve 15, are coated with a viscous material, such as silicone grease, the movement will be further slowed. With the lowering mechanism as described, as the stylus approaches the record a given angular movement of the lowering lever causes only a small vertical movement of the arm and stylus again assisting towards very gradual engagement with the record. The weight of the arm on the centre pivot in conjunction with the viscous grease, makes the arm virtually self-lowering once movement is initiated. A rest arm 64 for the pick-up can be secured from the upper part 55 of sleeve 15. With a pickup of the kind described, with a very light playing pressure it is not easy to ensure that the correct pressure is obtained, without the use of an accurate measuring device. In accordance with another feature of the present invention, the desired playing pressure is obtained by first balancing the arm as a whole, by means of the adjustable counterweight 45, until the arm is exactly balanced; this is an adjustment which can be made visually without any additional apparatus. The desired playing pressure can then be obtained merely by placing on the pick-up, at the appropriate point, a member of predeter- The weight may, or may not, be permanently attached to the support arm, the desired change in needle pressure being obtained by moving the Weight from one position to another, or it may be completely detachable from the arm. The weight may be an otherwise useful part of the construdtion such as a screw, clip, or the like. I claim: 1. A gramophone pick-up arm assembly comprising a substantially vertical support, a member having appreciable weight pivotally mounted on said support by means of a single pivot point bearing, a pick-up supporting arm, horizontal pivot means pivotally mounting said arm on said weighted member for pivotal movement about a horizontal axis, said arm being substantially balanced about said horizontal pivot axis and the center of gravity of said weighted member and said arm together being below said pivot point hearing so that said weighted member depends by gravity from said pivot point bearmg. 2. A gramophone pick-up arm in accordance with claim 1 wherein said horizontal pivot axis of said arm intersects with the vertical axis through said pivot point bearing of said weighted member. 3. A gramophone pick-up arm in accordance with claim 1 wherein said pivot point bearing of said weighted member lies on said horizontal pivot axis of said arm. 4. A gramophone pick-up arm in accordance with claim 1 and which further includes means for adjusting the height of said single pivot point bearing. '5. A gramophone pick-up arm in accordance with claim 4 and wherein said means for adjusting the height of said single pivot point bearing includes a control member for readily efleoting such adjustment. 6. A gramophone pick-up arm in accordance with claim 1 wherein electric connections between said arm and said support are effected through means establishing a substantially constant force between those parts. 7. A gramophone pick-up arm in accordance with claim 6, wherein the said means include a flexible tube. 8. A gramophone pick-up arm in accordance with claim 7, wherein said tube is formed by a spirally wound member. 9. A grarnophone pick-up arm in accordance with claim 1, and comprising an adjustable counterweight, for adjusting the balancing of said arm about its horizontal axis. 10. A gramophone pick-up arm in accordance with claim 9, and including a pick-up head attached to said arm, a pressure adjusting member movable, with respect to the arm, from a first to a second position to increase the pressure at the stylus tip of the head by a predetermined amount, said counterweight permitting balancing of the arm in the said first position. 11. A gramophone pick-up arm in accordance with claim 10, wherein the pressure adjusting member is permanently attached to said arm. 12. A gramophone pick-11p arm in accordance with claim 1 wherein said single pivot point bearing is located at the upper end of a vertical post which constitutes the support therefor, said post being slidably adjustable within a stationary sleeve member adapted to be attached to a main support, and a control member for effecting vertical adjustment of said post in said sleeve. 13. A gramophone pick-up arm in accordance with claim 12 wherein said control member is arranged to adjust said post more slowly, for a given movement thereof as said post approaches the position at which a pick-up on said arm, in use, engages the surface of a record. 14. A gramophone pick-up arm in accordance with claim 13, wherein said control member rotates a part having an eccentric portion engaging a slot or the like in said post. 15. A gramophone pick-up arm in accordance with claim 12, and comprising a stop against which said arm abuts when said post is lifted, thereby to cause said arm to pivot in a direction to lift the pick-up head end of the arm. 16. A gramophone pick-up arm in accordance with claim 15, wherein said stop is elfective over a range of angular positions of said arm, about the vertical axis, whereby the pick-up head can be lowered at a desired position onto a record. CITATIONS DE BREVETS Brevet cité Date de dépôt Date de publication Déposant Titre US2776144 * 23 janv. 1952 1 janv. 1957 Joseph V Caltagirone Phonograph tone arm mounting US2993698 * 31 mai 1957 25 juil. 1961 Walter O Stanton Phonograph pick-up arm FR1105702A * Titre non disponible GB618814A * Titre non disponible * Cité par l'examinateur |
|
Dernière édition: 30 Jui 2017 07:55 par User578.
L'administrateur a désactivé l'accès en écriture pour le public.
|
|
|
|
Dernière édition: 30 Jui 2017 08:11 par User578.
L'administrateur a désactivé l'accès en écriture pour le public.
|
|
Sam 19 Juil 2014
cynos écrit: Voila tout ce que j'ai trouvé sur ce bras. le bleu écrit:
* Acos Cosmocord HI-light - Je l'ai reçu avec une celulle PiCKERING V15 AME 2 avec son diamant. (perso, je ne connais pas). - C'est donc un unipivot, et le mécanisme de montée, et le arm rest sont solidaires du bras. - J'ai aussi le câble avec sa prise 4 pôles qui se connecte sous l'axe, l'autre bout du câble est en DIN. - Si quelqu'un connait quoi que ce soit à propos de ce bras : merci d'avance, je ne sais pas ce qu'il peut valoir (à l'écoute). - Mon intention est donc de le coupler à une 401, selon vous, bonne idée ? ... ça pourrait faire un petit look sixties non ? ba oui, bonne idée, il n'y pas de raison pour que ce soit mauvais! C'est quoi le tube qui passe au dessus du bras? c'est pour les câbles? cynos écrit: le bleu écrit:
ba oui, bonne idée, il n'y pas de raison pour que ce soit mauvais! C'est quoi le tube qui passe au dessus du bras? c'est pour les câbles? oui, c'est un simple ressort qui sert de passage aux cables, comme c'est un unipivot, le bras est totalement désolidarisé de la base, le bras repose en équilibre sur une pointe (je sais pas si je suis clair ...) philihifi écrit: normalement le contrepoids des bras uni-pivot est décentré pour le stabiliser ce qui n'est pas le cas à la vue en coupe, ce qui m'étonne dans la conception. le bleu écrit: oui Phil, tu as raison. Sur la vue de dessus, on voit une vis sur le coté, elle sert à tenir le bars sur son pivot (elle ne doit pas être serré, sauf peut être pour le transport), cette vis ne servirait-elle pas de contrepoids latéral réglable aussi? philihifi écrit: cette vis doit surement être très légèrement desserrée, mais pas trop; je pense qu'elle sert à éviter que le bras sorte vers le haut grâce à la gorge dans l'axe. le bleu écrit: c'est ce que j'essayais de dire Mais ne servirait t'elle pas de contrepoids en plus.... car sinon l’uni-pivot ne teindrait pas le bras l’horizontale D/G cynos écrit: La vis dont vous parlez se termine par une pointe, de l'autre côté, il y a la même pointe, mais elle est fixe, donc je pense qu'en serrant/desserrant le vis on "règle" le déplacement sur le plan horizontal ou l'horizontalité du bras. Le plan vertical c'est l'équilibre sur le pivot qui est aussi une pointe. Le porte cellule peut être incliné horizontalement aussi. Je vous avoue que le jour où je devrais le régler sur un plateau je vais sans doute galérer, il n'y a pas de mode d'emploi ... philihifi écrit: Peut être, mais c'est optimisable je pense. le bleu écrit: cynos écrit:
Je vous avoue que le jour où je devrais le régler sur un plateau je vais sans doute galérer, il n'y a pas de mode d'emploi ... bebege écrit: Zarbi ce bras uni-pivot avec un axe horizontal ! Je n'en vois pas trop l'intérêt surtout avec un réglage de dureté qui peut s'apparenter à un AS au pire. Le passage du câble est très alambiqué. De même que le système de levée du bras. a+ le bleu écrit: "L'axe horizontale" n'est pas un axe. En fait, comme le bras est posé sur une pointe (uni-pivot), il suffirait de le soulever pour l'enlever, donc cette vis qui ressemble à un axe ne se serre pas, elle dépasse juste sous la pointe, dans la rainure, pour ne pas soulever le bras sans sa base, et donc éviter de casser les fils... Pas facile par écrit, je ne sais pas si je suis clair? bebege écrit: Oui, mais il y a contrainte. Donc, amha, on ne peut pas parler d'un pivot unique (libre dans tous les axes sauf z). Il faudrait juger de l'amplitude du jeu. a+ le bleu écrit: oui, tu as raison, mais tous les unipivot ont se système de blocage, pour ne pas arracher les fil à la première mauviase manipt si quelqu'un lève le bras... il est bien libre dans tous les sens, cette visse ne touche pas le pivot bebege écrit: Absolument pas Le câblage est souvent un soucis. On ne sait pas comment le faire passer car il doit être indépendant. Il peut sortir du bras direct (avant l'axe), du haut support de bras ou être acheminé vers une din sur le support inférieur mais "libre". a+ le bleu écrit: oui certains bras très haut de gamme ou des DIY n'ont pas ça, ok. Ne partons pas trop loin, certains n'ont aussi pas de liaison cable au niveau du pivot (j'ai 2 bras avec des contact mercure par exemple) papamano écrit:
Je crois que tu m'as compris pour la vis latérale qui n'est pas un pivot, don c'est clos, sinon on dérape de sujet intéressant pierrot62 écrit: Affaire à suivre bebege écrit: le bleu écrit:
oui, tu as raison, mais tous les unipivot ont se système de blocage, pour ne pas arracher les fil à la première mauviase manipt si quelqu'un lève le bras... il est bien libre dans tous les sens, cette visse ne touche pas le pivot Re, Je viens de vérifier sur les photos des bras qui sont passés à la maison. Aucun bras moderne ne dispose de ce type de vis : jmw, graham phamtom, musical fidelity, sheu, clearaudio... Je me a+ le bleu écrit: là, je n'ai pas le bras assez long.... Je n'ai (ou n'ai eu) que des vieux bras simple avec ce système de blocage/sécu : Transcriptor, mayware Formula4, vieil Autotecnica... même mes SME à 2 pivots (couteaux) ont une cage sur le dessus. Amusant ces différences qui ne sont pas forcément visuel. cynos écrit: le bleu écrit:
"L'axe horizontale" n'est pas un axe. En fait, comme le bras est posé sur une pointe (uni-pivot), il suffirait de le soulever pour l'enlever, donc cette vis qui ressemble à un axe ne se serre pas, elle dépasse juste sous la pointe, dans la rainure, pour ne pas soulever le bras sans sa base, et donc éviter de casser les fils... Pas facile par écrit, je ne sais pas si je suis clair? Bon, puisque j'ai pas mal joué avec le bras, et que je l'ai démonté, je vais tenter de vous expliquer: - le bras est monté sur un pivot principal. ce pivot est une pointe, et au centre du bras il y a une sorte de cuvette retournée qui repose sur la pointe, mais je ne sais pas comment ils se sont arrangé pour faire ça ... on ne peut pas désolidariser la cuvette de la pointe ... donc si on soulève le bras, la cuvette reste en place, mais le câblage n'est retenu que par les deux vis pivot. - les deux pivots vis de chaque côté. il y en a un qui est une simple pointe, et derrière cette pointe il y a un ressort. de l'autre côté une pointe qui se visse. cela sert à ajuster "la balance" horizontale du bras. comme le bras en en "J", le porte cellule déporte le bras sur le côté (il n'est pas horizontal) s'il n'est posé que sur le pivot principal. avec ce système de pivot/vis, on centre le bras sur le pivot principal, et on l'équilibre entre la gauche et la droite. et oui, il faut légèrement serrer sinon le bras n'est pas horizontal entre la gauche et la droite. - ensuite le pivot principal agit d'avant à arrière et de droite à gauche aussi (c'est une pointe). - il y aussi une sorte de demi lune où passe le câble, je n'avais pas compris son utilité au départ. en fait, sa position (hauteur) s'ajuste par une vis et c'est cette pièce qui fait relever le bras (action de levier) quand on se sert du lift manuel. -> ce bras est vraiment très compliqué, torturé dirais je dans sa conception, mais les assemblages sont très simples. -> d'après ce que j'ai pu comprendre avec mes premiers tests, le bras doit être capable d'emmener un diamant à des valeurs d'appuie extrêmement faible, c'est incroyable. Je le met en équilibre, je tourne à peine le contrepoids, et il plonge vers le disque sans rebondir. Je n'en ai pas encore fait le tour complet. J'ai encore un problème pour bien régler l'équilibre droite gauche, je trouve que de ce côté ça balance trop une fois que le bras est déscendu. Je vous en dit plus quand il sera véritablement en fonction. Je comprends quand même que ce bras n'a pas été un succès commercial, trop compliqué ! |
|
Dernière édition: 30 Jui 2017 08:02 par User578.
L'administrateur a désactivé l'accès en écriture pour le public.
|
|
Hi,
Alors chante-t-il à nouveau ce joli bras? LB |
|
L'administrateur a désactivé l'accès en écriture pour le public.
|
|
Non, oh que non !, il est toujours monté en 12', faut que je le repasse en 9', et aussi que je trouve une Deram pour mettre dessus ... bref point mort ...
|
|
Dernière édition: 03 Juil 2017 15:13 par User578.
L'administrateur a désactivé l'accès en écriture pour le public.
|
|
J'attends une Deram ... Il y a peut être un espoir pour le Hi-Light ...
|
|
L'administrateur a désactivé l'accès en écriture pour le public.
|
SELECT `data`
FROM `joom_session`
WHERE `session_id` = 'trq276meo2ipp450ihbp42vlm2'
SELECT extension_id AS id, element AS "option", params, enabled
FROM joom_extensions
WHERE `type` = 'component'
SELECT folder AS type, element AS name, params
FROM joom_extensions
WHERE enabled = 1
AND type ='plugin'
AND state IN (0,1)
AND access IN (1,1)
ORDER BY ordering
SELECT m.id, m.menutype, m.title, m.alias, m.note, m.path AS route, m.link, m.type, m.level, m.language,`m`.`browserNav`, m.access, m.params, m.home, m.img, m.template_style_id, m.component_id, m.parent_id,e.element as component
FROM joom_menu AS m
LEFT JOIN joom_extensions AS e
ON m.component_id = e.extension_id
WHERE m.published = 1
AND m.parent_id > 0
AND m.client_id = 0
ORDER BY m.lft
SELECT id, home, template, s.params
FROM joom_template_styles as s
LEFT JOIN joom_extensions as e
ON e.element=s.template
AND e.type='template'
AND e.client_id=s.client_id
WHERE s.client_id = 0
AND e.enabled = 1
SELECT extension_id AS id, element AS "option", params, enabled
FROM joom_extensions
WHERE `type` = 'library'
AND `element` = 'joomla'
UPDATE `joom_extensions`
SET `params` = '{\"mediaversion\":\"bb023be30d4c41df461e05bc1ee0f26c\"}'
WHERE `type` = 'library'
AND `element` = 'joomla'
SELECT *
FROM joom_kunena_configuration
WHERE id=1
SELECT *
FROM joom_kunena_aliases
WHERE alias LIKE 'les-bras-de-lecture%'
SHOW FULL COLUMNS
FROM `joom_assets`
SELECT id
FROM joom_assets
WHERE parent_id = 0
SELECT b.rules
FROM joom_assets AS a
LEFT JOIN joom_assets AS b
ON b.lft <= a.lft
AND b.rgt >= a.rgt
WHERE (a.id = 1)
GROUP BY b.id, b.rules, b.lft
ORDER BY b.lft
SELECT b.id
FROM joom_usergroups AS a
LEFT JOIN joom_usergroups AS b
ON b.lft <= a.lft
AND b.rgt >= a.rgt
WHERE a.id = 1
SELECT params
FROM joom_extensions
WHERE folder ='editors'
AND element ='jckeditor'
SELECT *
FROM joom_kunena_categories
ORDER BY ordering, name
SHOW FULL COLUMNS
FROM `joom_kunena_users`
SELECT b.rules
FROM joom_assets AS a
LEFT JOIN joom_assets AS b
ON b.lft <= a.lft
AND b.rgt >= a.rgt
WHERE (a.name = 'com_kunena')
GROUP BY b.id, b.rules, b.lft
ORDER BY b.lft
SELECT DISTINCT(user_id)
FROM joom_usergroups as ug1
INNER JOIN joom_usergroups AS ug2
ON ug2.lft>=ug1.lft
AND ug1.rgt>=ug2.rgt
INNER JOIN joom_user_usergroup_map AS m
ON ug2.id=m.group_id
WHERE ug1.id IN (8,15,12)
SELECT b.rules
FROM joom_assets AS a
LEFT JOIN joom_assets AS b
ON b.lft <= a.lft
AND b.rgt >= a.rgt
WHERE (a.name = 'com_kunena')
GROUP BY b.id, b.rules, b.lft
ORDER BY b.lft
SELECT DISTINCT(user_id)
FROM joom_usergroups as ug1
INNER JOIN joom_usergroups AS ug2
ON ug2.lft>=ug1.lft
AND ug1.rgt>=ug2.rgt
INNER JOIN joom_user_usergroup_map AS m
ON ug2.id=m.group_id
WHERE ug1.id IN (15,12)
SELECT user_id, category_id, role
FROM joom_kunena_user_categories
WHERE role IN (1,2)
SHOW FULL COLUMNS
FROM `joom_kunena_topics`
SELECT *
FROM joom_kunena_topics
WHERE id = 1093
SELECT *
FROM joom_languages
WHERE published=1
ORDER BY ordering ASC
SHOW FULL COLUMNS
FROM `joom_kunena_sessions`
SELECT m.id, m.title, m.module, m.position, m.content, m.showtitle, m.params, mm.menuid
FROM joom_modules AS m
LEFT JOIN joom_modules_menu AS mm
ON mm.moduleid = m.id
LEFT JOIN joom_extensions AS e
ON e.element = m.module
AND e.client_id = m.client_id
WHERE m.published = 1
AND e.enabled = 1
AND (m.publish_up = '0000-00-00 00:00:00' OR m.publish_up <= '2026-04-19 14:44:33')
AND (m.publish_down = '0000-00-00 00:00:00' OR m.publish_down >= '2026-04-19 14:44:33')
AND m.access IN (1,1)
AND m.client_id = 0
AND (mm.menuid = 160 OR mm.menuid <= 0)
ORDER BY m.position, m.ordering
SHOW FULL COLUMNS
FROM `joom_kunena_messages`
SELECT m.*, t.message
FROM joom_kunena_messages AS m
INNER JOIN joom_kunena_messages_text AS t
ON m.id=t.mesid
WHERE m.id = 7940
SELECT m.*, t.message
FROM joom_kunena_messages AS m
INNER JOIN joom_kunena_messages_text AS t
ON m.id=t.mesid
WHERE m.thread='1093'
AND m.hold IN (0)
ORDER BY m.time ASC
LIMIT 0, 18
SELECT *
FROM joom_kunena_thankyou
WHERE postid IN (7940,7941,7942,8072,8077,14544)
SELECT u.name, u.username, u.email, u.block as blocked, u.registerDate, u.lastvisitDate, ku.*, u.id AS userid
FROM joom_users AS u
LEFT JOIN joom_kunena_users AS ku
ON u.id = ku.userid
WHERE u.id IN (578,637)
SELECT *
FROM joom_kunena_attachments
WHERE mesid IN (7940,7941,7942,8072,8077,14544)
SELECT u.name, u.username, u.email, u.block as blocked, u.registerDate, u.lastvisitDate, ku.*, u.id AS userid
FROM joom_users AS u
LEFT JOIN joom_kunena_users AS ku
ON u.id = ku.userid
WHERE u.id IN (642)
SELECT *
FROM joom_kunena_user_topics
WHERE user_id='0'
AND topic_id IN (1093)
SHOW FULL COLUMNS
FROM `joom_kunena_user_topics`
UPDATE joom_kunena_topics
SET `hits` = (`hits` + 1)
WHERE `id` = '1093'
SELECT code, location
FROM joom_kunena_smileys
SELECT *
FROM joom_kunena_ranks
SELECT points
FROM joom_alpha_userpoints
WHERE `userid`='578'
SELECT m.id, m.medaldate, m.reason, lv.rank, lv.description, lv.icon, lv.image
FROM joom_alpha_userpoints_medals AS m, joom_alpha_userpoints_levelrank AS lv, joom_alpha_userpoints AS aup
WHERE m.medal=lv.id
AND aup.id=m.rid
AND (aup.referreid='' OR aup.userid='578')
ORDER BY m.medaldate DESC
SELECT userid, MAX(time) AS time
FROM joom_session
WHERE client_id=0
AND userid>0
AND time > 1776609843
GROUP BY userid
ORDER BY time DESC
SELECT points
FROM joom_alpha_userpoints
WHERE `userid`='637'
SELECT m.id, m.medaldate, m.reason, lv.rank, lv.description, lv.icon, lv.image
FROM joom_alpha_userpoints_medals AS m, joom_alpha_userpoints_levelrank AS lv, joom_alpha_userpoints AS aup
WHERE m.medal=lv.id
AND aup.id=m.rid
AND (aup.referreid='' OR aup.userid='637')
ORDER BY m.medaldate DESC
SHOW FULL COLUMNS
FROM `joom_kunena_categories`
SELECT id, home, template, params
FROM joom_template_styles
WHERE client_id = 0
SELECT id, home, template, s.params
FROM joom_template_styles as s
LEFT JOIN joom_extensions as e
ON e.element=s.template
AND e.type='template'
AND e.client_id=s.client_id
WHERE s.client_id = 0
AND e.enabled = 1
SELECT ts.template
FROM joom_template_styles AS ts
INNER JOIN joom_menu AS m
ON ts.id=m.template_style_id
WHERE m.id = 160
AND m.template_style_id != 0
SELECT template
FROM joom_template_styles
WHERE home = 1
AND client_id = 0
SELECT b.rules
FROM joom_assets AS a
LEFT JOIN joom_assets AS b
ON b.lft <= a.lft
AND b.rgt >= a.rgt
WHERE (a.name = 'com_menus')
GROUP BY b.id, b.rules, b.lft
ORDER BY b.lft
SELECT COUNT(*)
FROM joom_kunena_topics AS tt
WHERE tt.hold IN (0)
AND tt.category_id IN (36,41,35,30,45,25,11,6,12,5,13,24,31,37,26,40,46,7,42,43,15,64,44,32,27,29,14,18,66,20,71,72,21,68,22,16,17,19,69,23)
AND tt.last_post_time>'1745073873'
AND tt.moved_id='0'
SELECT tt.*, ut.posts AS myposts, ut.last_post_id AS my_last_post_id, ut.favorite, tt.last_post_id AS lastread, 0 AS unread
FROM joom_kunena_topics AS tt
LEFT JOIN joom_kunena_user_topics AS ut
ON tt.id=ut.topic_id
AND ut.user_id='0'
WHERE tt.hold IN (0)
AND tt.category_id IN (36,41,35,30,45,25,11,6,12,5,13,24,31,37,26,40,46,7,42,43,15,64,44,32,27,29,14,18,66,20,71,72,21,68,22,16,17,19,69,23)
AND tt.last_post_time>'1745073873'
AND tt.moved_id='0'
ORDER BY tt.last_post_time DESC
LIMIT 0, 12
SELECT u.name, u.username, u.email, u.block as blocked, u.registerDate, u.lastvisitDate, ku.*, u.id AS userid
FROM joom_users AS u
LEFT JOIN joom_kunena_users AS ku
ON u.id = ku.userid
WHERE u.id IN (676,778,1039,686)
SELECT *
FROM joom_kunena_user_topics
WHERE user_id='0'
AND topic_id IN (3005,1253,3004,3003,2988,3000,2993,2999,1049,2995,2998,850)
SELECT *
FROM joom_kunena_keywords_map AS m
INNER JOIN joom_kunena_keywords AS k
ON m.keyword_id=k.id
WHERE m.topic_id IN (3005,1253,3004,3003,2988,3000,2993,2999,1049,2995,2998,850)
AND m.user_id IN (0,0)
SHOW FULL COLUMNS
FROM `joom_template_styles`
SELECT *
FROM joom_template_styles
WHERE `id` = '12'
4 × SELECT b.rules
FROM joom_assets AS a
LEFT JOIN joom_assets AS b
ON b.lft <= a.lft
AND b.rgt >= a.rgt
3 × SELECT u.name, u.username, u.email, u.block as blocked, u.registerDate, u.lastvisitDate, ku.*, u.id AS userid
FROM joom_users AS u
LEFT JOIN joom_kunena_users AS ku
ON u.id = ku.userid
2 × SELECT points
FROM joom_alpha_userpoints
2 × SELECT DISTINCT(user_id)
FROM joom_usergroups as ug1
INNER JOIN joom_usergroups AS ug2
ON ug2.lft>=ug1.lft
AND ug1.rgt>=ug2.rgt
INNER JOIN joom_user_usergroup_map AS m
ON ug2.id=m.group_id
2 × SELECT *
FROM joom_kunena_user_topics
2 × SELECT extension_id AS id, element AS "option", params, enabled
FROM joom_extensions
2 × SELECT m.id, m.medaldate, m.reason, lv.rank, lv.description, lv.icon, lv.image
FROM joom_alpha_userpoints_medals AS m, joom_alpha_userpoints_levelrank AS lv, joom_alpha_userpoints AS aup
2 × SELECT id, home, template, s.params
FROM joom_template_styles as s
LEFT JOIN joom_extensions as e
ON e.element=s.template
AND e.type='template'
AND e.client_id=s.client_id
1 × SELECT code, location
FROM joom_kunena_smiley
1 × SELECT *
FROM joom_kunena_attachments
1 × SELECT *
FROM joom_kunena_rank
1 × SELECT ts.template
FROM joom_template_styles AS ts
INNER JOIN joom_menu AS m
ON ts.id=m.template_style_id
1 × SELECT *
FROM joom_kunena_keywords_map AS m
INNER JOIN joom_kunena_keywords AS k
ON m.keyword_id=k.id
1 × SELECT *
FROM joom_template_styles
1 × SELECT tt.*, ut.posts AS myposts, ut.last_post_id AS my_last_post_id, ut.favorite, tt.last_post_id AS lastread, 0 AS unread
FROM joom_kunena_topics AS tt
LEFT JOIN joom_kunena_user_topics AS ut
ON tt.id=ut.topic_id
AND ut.user_id='0'
1 × SELECT COUNT(*)
FROM joom_kunena_topics AS tt
1 × SELECT id, home, template, params
FROM joom_template_styles
1 × SELECT template
FROM joom_template_styles
1 × SELECT userid, MAX(time) AS time
FROM joom_session
1 × SELECT m.*, t.message
FROM joom_kunena_messages AS m
INNER JOIN joom_kunena_messages_text AS t
ON m.id=t.mesid
1 × SELECT id
FROM joom_assets
1 × SELECT b.id
FROM joom_usergroups AS a
LEFT JOIN joom_usergroups AS b
ON b.lft <= a.lft
AND b.rgt >= a.rgt
1 × SELECT *
FROM joom_kunena_aliases
1 × SELECT *
FROM joom_kunena_configuration
1 × SELECT folder AS type, element AS name, params
FROM joom_extensions
1 × SELECT m.id, m.menutype, m.title, m.alias, m.note, m.path AS route, m.link, m.type, m.level, m.language,`m`.`browserNav`, m.access, m.params, m.home, m.img, m.template_style_id, m.component_id, m.parent_id,e.element as component
FROM joom_menu AS m
LEFT JOIN joom_extensions AS e
ON m.component_id = e.extension_id
1 × SELECT params
FROM joom_extensions
1 × SELECT *
FROM joom_kunena_categories
1 × SELECT `data`
FROM `joom_session`
1 × SELECT m.*, t.message
FROM joom_kunena_messages AS m
INNER JOIN joom_kunena_messages_text AS t
ON m.id=t.mesid
1 × SELECT m.id, m.title, m.module, m.position, m.content, m.showtitle, m.params, mm.menuid
FROM joom_modules AS m
LEFT JOIN joom_modules_menu AS mm
ON mm.moduleid = m.id
LEFT JOIN joom_extensions AS e
ON e.element = m.module
AND e.client_id = m.client_id
1 × SELECT *
FROM joom_languages
1 × SELECT user_id, category_id, role
FROM joom_kunena_user_categories
1 × SELECT *
FROM joom_kunena_topics
1 × SELECT *
FROM joom_kunena_thankyou
1 × SHOW FULL COLUMNS
FROM `joom_kunena_user_topics
1 × UPDATE joom_kunena_topics
SET `hits` = (`hits` + 1)
1 × SHOW FULL COLUMNS
FROM `joom_kunena_categories
1 × SHOW FULL COLUMNS
FROM `joom_template_styles
1 × SHOW FULL COLUMNS
FROM `joom_kunena_messages
1 × SHOW FULL COLUMNS
FROM `joom_kunena_sessions
1 × SHOW FULL COLUMNS
FROM `joom_assets
1 × SHOW FULL COLUMNS
FROM `joom_kunena_users
1 × SHOW FULL COLUMNS
FROM `joom_kunena_topics
1 × UPDATE `joom_extensions`
SET `params` = '{\"mediaversion\":\"bb023be30d4c41df461e05bc1ee0f26c\"}'